GPS  Patch Antennas

<

>

Table of contents

Request for quote

 

 

ELEMENT CONSTRUCTION

  • GPS Dielectric Patches
  • Proprietary Dielectric and Metallization
  • Assured Long Term Stability and Sensitivity
  • Frequency-Ground Plane Calibrated

  • Dielectric Flat Patch Antenna
  • Rectangular Micro-strip Antenna Design
  • Polarization: Right Hand Circular
  • Offset One Point Feeding Through Ground Plane Method
  • 13, 18, 25 mm Square Size

 

 

 

SPECIFICATIONS
 

Part number

Frequency

Band-Width
(VSWR 1.5:1)

Return Loss

VSWR

Impedance

t¦

300/GPSXX013

1575.42 ± 5MHz

2MHz min

20dB min

2.0:1 max

50 Ohm

£± 15ppm/°C

300/GPSXX018

£± 10ppm/°C

300/GPSXX025

£± 10ppm/°C

Center Frequency is shifted 5MHz down when covered with a radome.

FEATURES

EXPLANATION OF THE PART NUMBER

  • Electrode: Silver
  • Pin Material: Ni plated over Brass
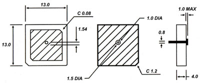
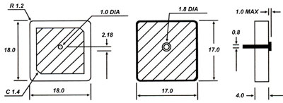
  • Unit: mm

300/GPS

-

92

-

025

-

R

 

 

 

  Series

  Dielectric Constant (er = 92, 38, 21)

  Ceramic Plate Dimension (13, 18, 25 mm)

  R: RHCP, L: LHCP

DIMENSIONS

 

 

 

SIZE 13

SIZE 18

SIZE 25

ANTENNA CHARACTERISTICS

 

 

 

1

Absolute gain

3 dBi min (elevation = 90°)

0 dBi (25°£ elevation < 90°)

-5 dBi min (15°£ elevation < 25°)

2

Absolute gain

3 dBi max (elevation = 90°)

Alpha Center
351 Irving Drive, Oxnard, CA 93030, USA

©2020 Alpha Products, Inc. All rights reserved.